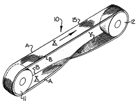
A special surface with only one side and one edge.
You can make one with a paper strip: give it half a twist and then join the ends.
Things to try:
• draw a line along the middle, you will find the line continues on behind where you started and then comes back to the start again!
• try cutting it along the middle line, what do you get?
• Make another one and try cutting it near the edge (1/3rd width, or 1/4 width) and see what happens.
They are also useful! In a machine with a moving belt it can help spread the wear so it lasts longer.
Definition of
Mobius Strip
